《矿山土地复垦与生态修复监测评价技术规范》(GB/T43935-2024)【全文附高清无水印PDF+可编辑Word版下载】
标准号:GB/T43935-2024
中文标准名称:矿山土地复垦与生态修复监测评价技术规范
英文标准名称:Technical specification for monitoring and evaluation of land reclamation and ecological restoration in mines
中国标准分类号(CCS):Z 06
国际标准分类号(ICS):13.020
发布日期:2024-04-25
实施日期:2024-08-01
主管部门:自然资源部(国土)
归口部门:自然资源部(国土)
发布单位:国家市场监督管理总局、国家标准化管理委员会
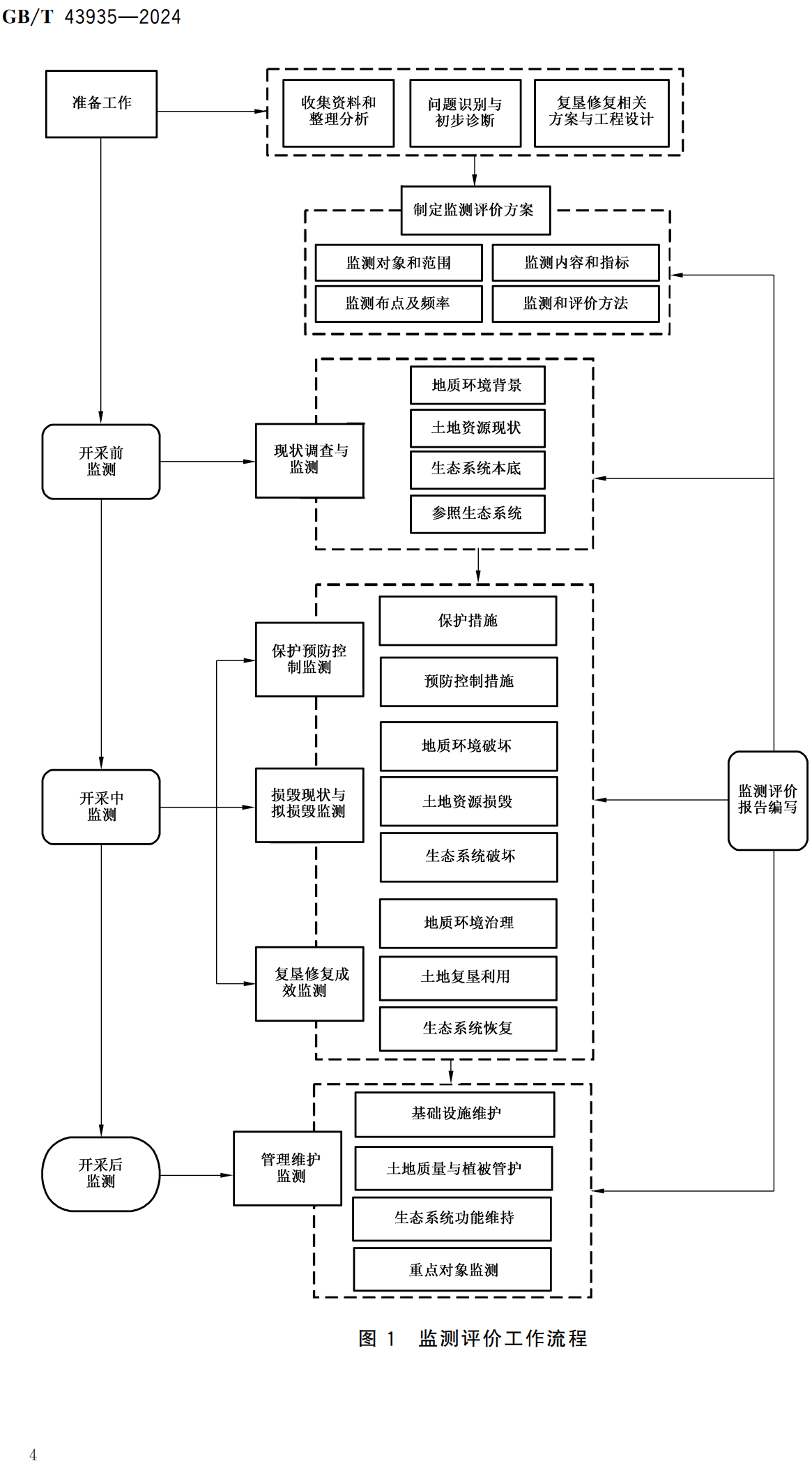
标准简介:本文件规定了矿山土地复垦与生态修复监测评价目的与总体要求、工作流程、监测内容、监测方法、评价方法、监测评价报告编制及监测数据管理的要求。本文件主要适用于生产矿山土地复垦和生态修复活动的监测与评价工作。
"土地复垦"相关标准单册下载(名称相近,请仔细核对以免混淆):
1、《土地复 垦方案编制规程第1部分:通则》(TD/T1031.1-2011)【全文附高清无水印PDF版+DOC版下载】
2、《土地复 垦方案编制规程第2部分:露天煤矿》(TD/T1031.2-2011)【全文附高清无水印PDF版+DOC版下载】
3、《土地复 垦方案编制规程第3部分:井工煤矿》(TD/T1031.3-2011)【全文附高清无水印PDF版+DOC版下载】
4、《土地复 垦方案编制规程第4部分:金属矿》(TD/T1031.4-2011)【全文附高清无水印PDF版+DOC版下载】
5、《土地复 垦方案编制规程第5部分:石油天然气(含煤层气)项目》(TD/T1031.5-2011)【全文附高清无水印PDF版+DOC版下载】
6、《土地复 垦方案编制规程第6部分:建设项目》(TD/T1031.6-2011)【全文附高清无水印PDF版+DOC版下载】
7、《土地复 垦方案编制规程第7部分:铀矿》(TD/T1031.7-2011)【全文附高清无水印PDF版+DOC版下载】
8、《土地复垦质量控制标准》(TD/T1036-2013)【全文附高清无水印PDF+可编辑Word版下载】
9、《生产项目土地复垦验收规程》(TD/T1044-2014)【全文附高清无水印PDF+可编辑Word版下载】
10、《矿山土地复垦基础信息调查规程》(TD/T1049-2016)【全文附高清无水印PDF+DOC/Word版下载】
11、《工矿废弃地土地复垦水土环境质量调查评价规范》(DZ/T0472-2024)【全文附高清无水印PDF+可编辑Word版下载】
12、《露天煤矿排土场土地复垦作物种植技术规程》(MT/T1223-2024)【全文附高清无水印PDF+可编辑Word版下载】
13、《露天煤矿排土场土地复垦灌草植被修复技术规程》(MT/T1224-2024)【全文附高清无水印PDF+可编辑Word版下载】
14、《工矿用地复垦区宜能非粮地划分检验标准》(NB/T34052-2017)【全文附高清无水印PDF+可编辑Word版下载】
15、《露天煤矿土地复垦质量监测技术规程》(NB/T10532-2021)【全文附高清无水印PDF+可编辑Word版下载】
16、《铁矿山排土场复垦指南》(YB/T4486-2015)【全文附高清无水印PDF+Word版下载】
17、《岩溶堆积型铝土矿山复垦技术规范》(YS/T762-2011)【全文附高清无水印PDF+Word版下载】
18、《闲置宅基地复垦技术规范》(NY/T4323-2023)【全文附高清无水印PDF+Word版下载】
19、《金属矿土地复垦与生态修复技术规范》(GB/T43933-2024)【全文附高清无水印PDF+可编辑Word版下载】
20、《金属矿山土地复垦工程设计标准》(GB51411-2020)【全文附高清无水印PDF+可编辑Word版下载】
21、《煤矿土地复垦与生态修复技术规范》(GB/T43934-2024)【全文附高清无水印PDF+可编辑Word版下载】
22、《矿山土地复垦与生态修复监测评价技术规范》(GB/T43935-2024)【全文附高清无水印PDF+可编辑Word版下载】
23、《石油天然气项目土地复垦与生态修复技术规范》(GB/T43936-2024)【全文附高清无水印PDF+可编辑Word版下载】
24、《煤矸石回填塌陷区复垦技术规程》(GB/T45610-2025)【全文附高清无水印PDF+可编辑Word版下载】
25、《煤炭工业露天矿土地复垦工程设计标准》(GB51287-2018)【全文附高清无水印PDF+可编辑Word版下载】
PDF质量:高清晰PDF无水印版+Word版【内容可复制、可编辑、可搜索、可打印】(官方正式版、完整版,共计:26P(页),PDF文档大小:1.96MB)
请注意:本资源压缩包内共含2个版本:高清无水印PDF版、可编辑Word版(文字、表格、公式皆可编辑、复制),详见下图:





温馨提示:(本站无需注册或充值,扫码支付后即可获取资源下载链接)
本次捐赠数额为:10.00 元 【点击此处扫码支付】
